Skydd mot brandspridning mellan byggnader

Granskad:

Vilket brandskydd som gäller mot grannar är en mycket vanlig fråga i samband med bygglov och anmälan. Här reder vi ut vad som gäller för att uppnå kraven på skydd mot brandspridning mellan byggnader.

Nya byggregler från 1 juli 2025

Den 1 juli 2025 började nya byggregler att gälla.  

Nya byggregler

Denna sida ger vägledning om Boverkets äldre byggregler, BBR, eller Boverkets konstruktionsregler, EKS. Under en övergångstid fram till och med 30 juni 2026 kan byggherren välja att använda dessa äldre regler. 

Allmänt

Regler om skydd mot brandspridning mellan byggnader finns i BBR avsnitt 5:61.

I korthet innebär det att byggnader antingen ska placeras på ett avstånd av minst åtta meter ifrån varandra eller förses med en brandteknisk konstruktion i form av brandcellsgräns eller brandvägg. Alternativt kan så kallad analytisk dimensionering tillämpas med en kombination av avstånd och brandtekniska konstruktioner. Detta verifieras då normalt med strålningsberäkningar.

5:61 Allmänt

Byggnader ska utformas med tillfredställande skydd mot brandspridning mellan byggnader. (BFS 2011:26).

Allmänt rådTillfredställande skydd erhålls om byggnader uppförs med ett avstånd som överstiger 8 meter. Tillfredställande skydd erhålls om brandspridning mellan byggnader begränsas med skydd som motsvarar det högsta kravet för brandceller eller brandväggar i respektive byggnad. Sammanbyggda byggnader med mer än två våningsplan bör avskiljas med brandvägg. Om det finns inglasad balkong bör avståndet beräknas från balkongplattans ytterkant. Övriga utstickande detaljer, t.ex. taksprång och balkong, som sticker ut mer än 0,5 meter bör tas med i beräkningen av avstånd mellan byggnader.Regler om ytterväggar finns i avsnitt 5:55. (BFS 2011:26).

Krav på brandspridning mellan byggnader är inte kopplat till om byggnaderna är placerade på olika fastigheter eller har olika ägare. Kraven gäller både brandspridning mellan byggnader inom samma fastighet och mellan byggnader på olika fastigheter. Mer information om vad som kan vara avgörande vid bedömning av om en byggnad ska betraktas som en byggnad eller som två sammanbyggda byggnader finns att läsa om på sidan Byggnadsklass och verksamhetsklasser.

Hänsyn behöver tas dels till befintliga byggnader, dels till byggnader som är avsedda att byggas. Det innebär att, inom detaljplanelagt område, ska hänsyn tas även till de ännu inte utnyttjade byggrätter som finns inom planen.

Brandspridning mellan andra byggnader än småhus

Skydd mot brandspridning mellan andra byggnader än de som omfattas av BBR 5:611 uppnås antingen genom ett skyddsavstånd på minst 8 m eller genom avskiljande konstruktion. Sammanbyggda byggnader i två plan kan skiljas av med brandcellsgräns. Sammanbyggda byggnader med fler än två våningsplan bör avskiljas med brandvägg. Om en byggnad i två plan byggs samman med en byggnad i fler än två plan gäller även då kravet på brandvägg eftersom en av byggnaderna utförs i mer än två plan. För utformningar som avviker från det allmänna rådet behöver analytisk dimensionering tillämpas.

För byggnader som inte omfattas av BBR 5:611, till exempel två flerbostadshus som inte byggs samman men som är placerade närmare varandra än 8 m krävs alltid analytisk dimensionering. Analytisk dimensionering behöver även tillämpas för små byggnader, till exempel miljöhus som placeras inom 8 m från ett flerbostadshus. De allmänna råden i BBR anger ingen förenklad lösning för hur skyddet mot brandspridning mellan byggnader ska uppfyllas annat än att skyddet kan uppfyllas genom en kombination av skyddsavstånd och avskiljande konstruktioner.

Brandspridning mellan småhus

För småhus och tillhörande komplementbyggnader finns i byggreglerna en förenklad modell i tabell 5:611 som ger exempel på olika kombinationer av skyddsavstånd och brandtekniska konstruktioner samt möjligheten att ha fönster som inte är brandklassade. Denna modell gäller även för byggnader med högst två våningsplan och som endast innehåller verksamhetsklass 1 eller 3, det vill säga kontor, industrier och bostäder. Eftersom komplementbyggnader enbart kan finnas i kombination med småhus så gäller lättnaderna i BBR 5:611 inte för mindre byggnader i anslutning till andra byggnader än småhus, till exempel flerbostadshus.

För skydd mot brandspridning mellan olika småhus gäller kraven i tabellen för båda byggnadernas motstående ytterväggar. Mellan komplementbyggnad och småhus och mellan komplementbyggnader är det dock tillräckligt att den ena (valfri) av de motstående ytterväggarna följer kraven i tabell 5:611.

Avstånd Småhus nära 
annat småhus eller komplementbostadshus
Småhus 
nära komplementbyggnad
0-8 m

(alltid ok)

EI 60 i en av väggarna

Oklassade fönster: Inga

Dörrar: EI 60

EI 30 i en av väggarna

Oklassade fönster: Inga

Dörrar: EI 30

 0-2 m

EI 30 i båda väggarna

Oklassade fönster: Inga

Dörrar: EI 30

EI 30 i en av väggarna

Oklassade fönster: Inga

Dörrar: EI 30

 2-5 m

EI 30 i båda väggarna

Oklassade fönster: Max 1 m2 i respektive vägg

Dörrar: EI 30

EI 30 i en av väggarna

Oklassade fönster: Max 1 m2

Dörrar: EI 30

 5-7 m

EI 30 i båda väggarna

Oklassade fönster: Max 4 m2 i respektive vägg

Dörrar: Utan brandteknisk klass

EI 30 i en av väggarna

Oklassade fönster: Max 4 m2

Dörrar: Utan brandteknisk klass

 7-8 m

EI 30 i båda väggarna

Oklassade fönster: Obegränsat

Dörrar: Utan brandteknisk klass

EI 30 i en av väggarna

Oklassade fönster: Obegränsat

Dörrar: Utan brandteknisk klass

 

5:611 Småhus m.m.Allmänt rådAvståndet mellan småhus, mellan komplementbyggnader eller mellan komplementbyggnader och småhus kan vara mindre än 8 meter om de uppförs enligt tabell 5:611. Detta gäller även för byggnader med högst två våningsplan och som endast innehåller verksamhetsklass 1 eller 3. Småhus med ett våningsplan samt vindsplan eller småhus med två våningsplan bör delas in i grupper om högst 800 m2 sammanlagd byggnadsarea. I nämnda byggnadsarea inräknas inte arean av altaner, carportar och liknande. Varje grupp av småhus bör avskiljas med brandväggar i lägst klass REI 60-M eller med ett avstånd mellan grupperna på minst 8 meter. (BFS 2011:26).
Tabell 5:611 Kombination av ytterväggar och skyddsavstånd

Tabellen kan inte visas, klicka här för att öppna den i en PDF-läsare.

Oklassad fönsterarea

Med oklassad fönsterarea menas vanliga fönsterpartier utan någon brandteknisk klass. När fönsterarean ska bestämmas är grundprincipen att det innefattar hela det oklassade fönstret inklusive båge och karm. Om vissa delar av fönstret kan antas klara brandpåverkan i 30 minuter behöver de dock inte räknas in i fönsterarean. Det skulle exempelvis kunna vara aktuellt för en fönsterkarm i massivträ med tillräcklig tjocklek. I ett öppningsbart fönster bör dock fönsterbågen alltid räknas in i fönsterarean då fönstret kan stå öppet vid brand.

Om fönster har samma brandtekniska klass som väggen de sitter i, det vill säga EI 30 eller EI 60 räknas de som en del av väggen. EI 30 och EI 60 innebär en halvtimmes respektive en timmes motstånd mot brandspridning.

Vad menas med skrivningen "inklusive dörrar" i tabellen?

Det innebär att dörrarna behöver ha samma klass som väggen de sitter i, det vill säga EI 30 eller EI 60.

I nedre delen av tabellen anges inte inklusive dörrar. Det innebär att på de längre avstånden behöver dörrarna inte ha någon brandteknisk klass utan den kvalitet som en normal ytterdörr kan antas ha kan begränsa en brand i tillräcklig omfattning. Om det ingår glaspartier i dörren bör man däremot räkna med dem i arean för oklassade fönster.

Kan man interpolera i tabellen?

Det är inte möjligt att inom förenklad dimensionering beräkna värden mellan de fasta steg som finns i tabellen, till exempel att på ett avstånd av 3,5 meter tillåta 2,5 m2 oklassad fönsteryta.

Om andra värden ä de fasta stegen i tabellen ska användas är det en form av analytisk dimensionering, se särskild vägledning om analytisk dimensionering.

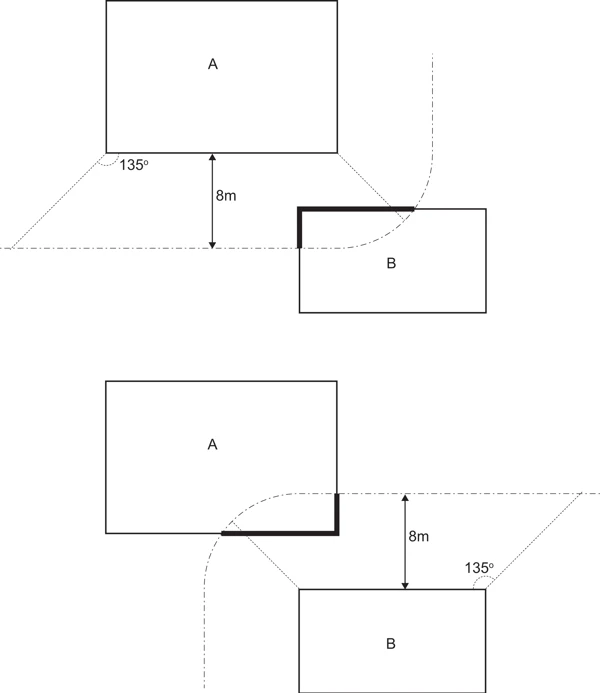
Strålning 135 grader ut från väggen

Med strålning 135 grader ut från väggen avses att det kan antas stråla ut från en fasad inte bara rakt fram utan också snett åt sidan. Beroende på byggnadernas placering behöver man kontrollera strålning utifrån respektive byggnad.

Kontroll av strålning mellan två byggnader. Illustration: Altefur Development / Boverket

Hur beräknas avståndet mellan byggnader?

Utgångspunkten är att avståndet mellan byggnader beräknas mellan byggnaders fasader. Om det finns inglasade balkonger eller motsvarande beräknas avståndet från balkongplattans kant. Även utstickande delar, som till exempel takfot, andra balkonger eller motsvarande, som sticker ut mer än 0,5 m ska tas med i beräkningen. Vid bedömningen av vilka brandskyddsåtgärder som behöver vidtas för att förhindra brandspridning mellan byggnader kan respektive del av byggnaden betraktas. Om till exempel två öppna balkonger i olika byggnader är placerade inom 8 m från varandra men byggnaderna i övrigt är placerade mer än 8 m från varandra räcker det med att hänsyn tas till brandspridningen mellan balkongerna. Några åtgärder i byggnaden i övrigt behöver inte vidtas enbart för att balkongerna är placerade inom 8 m från varandra.

Vad gäller för inglasade balkonger och uterum?

När det gäller inglasade balkonger och uterum så finns i BBR inga undantag för hur dessa ska hanteras i förhållande till brandspridning mellan byggnader. Däremot finns särskilda regler för inglasade uterum, balkonger och liknande när det gäller brandspridning mellan brandceller inom en och samma byggnad. Dessa regler kan tillämpas till exempel för ett uterum i markplan till ett flerbostadshus. Reglerna är däremot inte direkt tillämpliga för uterum som är placerade inom 8 m från en annan byggnad. I det fallet gäller reglerna i BBR 5:61 om brandspridning mellan byggnader och uterummet eller den inglasade balkongen betraktas då som en del av byggnaden.

5:537 Inglasade balkonger, loftgångar och uterum

Skydd mot brand- och brandgasspridning mellan brandceller ska upprätthållas vid inglasning av utrymmen som ansluter till brandcellen, såsom balkonger, loftgångar och uterum. (BFS 2011:26).

Allmänt rådSkydd mot brand- och brandgasspridning bör utgöras av brandtekniskt avskiljande konstruktion, skyddsavstånd eller en kombination av båda. Skydd mot brand- och brandgasspridning mellan intill- och ovanliggande utrymmen som nämns ovan, eller till fönster i andra brandceller, bör motsvara avskiljning i minst klass E 30. Skyddet bör omfatta de ytor som vetter parallellt mot varandra, t.ex. ovansida mot undersida eller sida mot sida. Ytorna anses vara parallella om vinkeln mellan dessa är mindre än 60°.Avskiljande konstruktion kan kombineras med, eller ersättas av, skyddsavstånd. För skydd med enbart avstånd bör skyddsavståndet mellan parallella horisontella ytor som är oskyddade vara minst 3 meter och mellan parallella vertikala ytor minst 0,5 meter. (BFS 2011:26).

Vad gäller för carport?

Carport är en byggnad enligt den definition som finns i PBL. Kravet på skydd mot brandspridning mellan byggnader gäller även för carportar som har en eller flera öppna sidor. Carportar i anslutning till småhus utgör komplementbyggnader och det räcker då med att skyddet mot brandspridning placeras i en av byggnadernas motstående ytterväggar. Eftersom en öppen sida i en carport inte kan utföras med brandteknisk klass behöver brandskyddet därför läggas i den andra byggnaden. Exempelvis kan carporten placeras 5 meter från ett småhus eller en annan komplementbyggnad om ytterväggen i den byggnaden utförs i klass EI 30 och har högst 4 m2 oklassad fönsterarea i den vägg som vetter mot carporten. Ett annat alternativ är att använda analytisk dimensionering, vilket kan behövas om två carportar ska placeras nära varandra.

Vad gäller för attefallshus?

För attefallshus gäller de vanliga reglerna om brandskydd mellan byggnader som beskrivits ovan. Något som kan vara lite knepigt är att man först måste ta reda på om attefallshuset är en självständig bostad, ett så kallat komplementbostadshus eller om det är en komplementbyggnad, exempelvis ett garage. I det första fallet gäller reglerna för småhus och i det andra fallet gäller reglerna för komplementbyggnader där det räcker att endera av motstående väggar uppfyller tabellen i BBR 5:611.

Observera att ett attefallshus kräver anmälan till byggnadsnämnden och om det ska placeras närmre tomtgräns än 4,5 meter krävs tillstånd av grannen.

Vad gäller för friggebodar?

En friggebod, det vill säga en komplementbyggnad på maximalt 15 kvadratmeter som placeras i anslutning till ett småhus, behöver inte uppfylla reglerna som finns i BBR 5:61. Däremot gäller fortfarande övriga regler i BBR. En friggebod kräver varken bygglov eller anmälan. Däremot krävs tillstånd av grannen om friggeboden ska placeras närmre tomtgräns än 4,5 meter.

5:6 Skydd mot brandspridning mellan byggnader

Föreskrifterna i avsnitt 5:61 gäller inte för komplementbyggnader som har en byggnadsarea på högst 15 m2. (BFS 2011:26).

Hur förhåller sig kraven mellan byggnader till kraven på fönster i yttervägg inom en byggnad?

Kraven på fönster i ytterväggar som är belägna i olika brandceller gäller inom en och samma byggnad. Dessa krav behöver därför inte tillämpas för skydd mot brandspridning mellan två olika byggnader. I vissa fall kan kraven inom en byggnad ge en högre skyddsnivå för motstående fönster än den förenklade tabellen i BBR 5:611. Till exempel så medger tabellen i BBR 5:611 att fönster utförs oklassade vid vissa avstånd mellan byggnader men när det gäller brandspridning mellan brandceller inom samma byggnad krävs brandklassade fönster. Detta kan uppfattas som ologiskt då kraven mellan byggnader av egendomsskäl normalt är högre än kraven inom en byggnad.

Även om kravet skulle varit högre om det varit inom en byggnad så gäller enbart kraven enligt BBR 5:611 om det är två olika byggnader. Detta kan förklaras av att de allmänna kraven på brandspridning mellan olika brandceller gäller i alla typer av byggnader och riskmiljöer, medan den förenklade tabellen mellan byggnader främst gäller för småhus. Det finns däremot givetvis inget som hindrar att byggherren på frivillig väg väljer den högre nivån för att säkerställa ett gott brandskydd.

5:553 Fönster i yttervägg

Fönster som tillhör skilda brandceller i samma byggnad och som vetter mot varandra eller är placerade ovanför varandra i höjdled, ska utformas och placeras så att brandspridning mellan brandcellerna begränsas. Brandklassade fönster får endast vara öppningsbara med verktyg, nyckel eller liknande. (BFS 2011:26).

Allmänt rådFönster, glasytor eller motsvarande, som är inbördes belägna så att direkt värmestrålning från brand kan ske från det ena fönstret till det andra omfattas av föreskriftens krav.Exempel på utformning som uppfyller föreskriftens krav på skydd mot brandspridning finns i tabell 5:553. Värmestrålning förutsätts ske vinkelrätt och snett ut från fönstret intill 135° vinkel från fönsterytan. Om vinkeln i innerhörn är mindre än 60° gäller vad som anges för motstående parallella ytterväggar. (BFS 2011:26).
Tabell 5:553 Exempel på utformning av fönster i ytterväggar som vetter mot varandra eller placeras ovanför varandra i höjdled. Detta gäller mellan brandceller med krav motsvarande EI 60 eller lägre.

Tabellen kan inte visas, klicka här för att öppna den i en PDF-läsare.

Vad gäller för tillfällig uppställning av bodar, husvagnar och liknande?

För att en konstruktion ska vara att betrakta som en byggnad enligt plan- och bygglagen måste den vara varaktigt placerad på en viss plats. Husvagnar, tillfälliga bodar och liknande som inte har en varaktig placering är därför inte att betrakta som byggnader. Kraven i BBR avseende brandspridning mellan byggnader är därmed inte tillämpbara. Någon definition av vad som är en varaktig placering finns inte, utan det avgörs genom rättstillämpningen. I ett äldre rättsfall ansågs exempelvis placering av en husvagn längre än en normal semesterperiod vara varaktig.

Nybyggnad

Krav enligt annan lagstiftning

För tillfällig uppställning finns krav på brandskydd enligt andra lagstiftningar. Enligt lagen om skydd mot olyckor ska ägare eller nyttjanderättshavare till byggnader eller andra anläggningar i skälig omfattning vidta de åtgärder som behövs för att förebygga brand och för att hindra eller begränsa skador till följd av brand. Reglerna i BBR avseende skydd mot brandspridning mellan byggnader kan då vara vägledande för vad som är en tillräcklig skyddsnivå. Detta eftersom byggreglerna hade varit acceptabelt vid ett permanent uppförande. De behöver däremot inte alltid tillämpas fullt ut, utan vad som är skäligt behöver avgöras i det enskilda fallet. För exempelvis brandskydd i campinganläggningar har myndigheten för samhällsskydd och beredskap ett särskilt allmänna råd, se länk under relaterat information.

Webbutbildning

I webbutbildningen "Brandskydd i PBL" kan du fylla på dina kunskaper om brandskydd.

Brandskydd i PBL (webbutbildning)

Boverket (2023). Brandskydd mellan byggnader. https://www.boverket.se/sv/PBL-kunskapsbanken/regler-om-byggande/boverkets-byggregler/brandskydd/brandskydd-mellan-byggnader/ Hämtad 2025-12-12